HK-20型小車是適用對接、水平、垂直和橫向的多用途焊接自動裝置。小車采用齒輪、齒條驅動方式,與工件平行的固定軌道上行走,運行速度均勻,調速系統采用可控硅無級變速,可實現精密焊接。非焊接狀態下的小車行走速度為最大值800mm/min。注意:由于焊接小車向氣保焊機是常通信號,且焊接不可避免地留有殘端,故設置和焊接時焊機的自保回路開關必須關閉……OFF。如果設置成開(ON),則焊接小車停止行走,焊弧卻不會熄滅。驅動部分安裝了手動離合裝置,方便小車在軌道上手動自由移動。設有收弧裝置,焊接結束時可進行焊縫收弧。小型鋁制軌道精度高,安裝有離合式強力永磁磁鐵,方便移動。

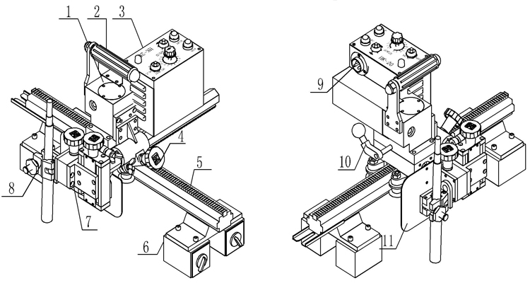
HK-20由小車本體,控制箱,X-Y滑塊,焊槍夾具,導向輪,直線導軌等部件組成。
1. 小車主體:也是小車的驅動裝置,包括電機,行星減速箱,驅動齒輪、導向輪等。
2. 手提手柄:移動本裝置,請握緊此手柄。
3. 電氣控制箱:可以調節小車的所有動作,詳細內容參考后續的“控制面板說明”。
4. 橫移裝置:焊接直條縫(如集裝箱)利用此裝置調整焊炬位置,避免頻繁地移動導軌。
5. 直線導軌:方便小車的行走路線。安裝有強力永磁磁鐵,讓導軌牢固地吸附工件之上,以適應各種焊接需求。
6. 磁鐵:強力離合式磁鐵,要移動導軌時請將所有磁控開關旋至“OFF”。
7. 焊炬微調滑塊:是調節焊槍位置的裝置,焊接當中可以進行上下左右的微調。
8. 焊槍夾持器:是固定焊槍的裝置,維修及調整是方便焊槍的拆卸。焊炬一定要夾緊,注意不要夾在導電部位,則會導致短路或電擊。
9. 電源插座:此為外接電纜插座,機器的接地線也與此插座相連,此電纜插座負責小車與送絲機的連接及電力供應。(電纜的另一端有兩個分支,一個接送絲機,另一個接電源。)
10. 離合手柄:扳動此手柄可以很方便的讓小車在軌道上自由移動。
11. 隔熱板:阻擋熱源焊渣侵蝕損壞小車。
主要技術參數
|
1.機器重量 |
6.25Kg |
|
2.驅動方法 |
齒輪、齒條驅動 |
|
3.牽引力 |
16 Kg |
|
4.焊接速度 |
150~800 (mm/min) |
|
5.跟蹤方式 |
導軌型 |
|
6.焊炬調節范圍 |
水平角:40°~55° 上下運動:45 mm 前后運動:45 mm |
|
7.焊炬 |
彎槍或直槍 |
|
8.焊炬鎖緊裝置 |
適用于彎槍或直槍 |
|
9.外形尺寸(長x寬x高 mm) |
350x240x250 |
焊接工藝參數
|
焊絲直徑 焊接參數 |
Φ1.2mm |
Φ1.4mm |
Φ1.6mm |
|
|
電流(A) |
平焊 |
120-300 |
150-380 |
180-430 |
|
平角焊 |
120-280 |
150-320 |
180-380 |
|
|
橫焊 |
120-280 |
150-300 |
180-330 |
|
|
電壓(U) |
① U=14+0.051 ② 300A以下時U=0.041+16±1.50 ③ 300A以上時U=0.041+20±2.0 |
|||
|
噴嘴與工件間的距離(H) |
1200A以下時 H=10~15mm 2200~350A時 H=15~20mm 3350~500A時 H=20~25mm |
|||
|
焊絲伸出長度(L) |
一般取焊絲直徑的10倍左右,即L=10d |
|||
裝箱清單
用戶收到包裝箱后,請對照如下清單核對箱中部件是否齊全。以下為標準裝箱清單。
|
1. |
主機 |
1臺 |
|
2. |
控制導線 |
1根 |
|
3. |
磁控導軌 |
1根 |
|
4. |
保險 |
1只 |
|
5. |
六角扳手(M4/M5/M8) |
各1只 |
|
6. |
說明書,合格證 |
各1份 |